Skip to main content
Please wait...
EL-NR0390G-ONP-1X-SF-BASP-AM
LIFTING PLATFORM AUXILIA S - CAR WITH AUTOMATIC FOLDING DOORS - SWING FLOOR LANDING DOORS - AUTOMATIC PUSH BUTTON CONTROL

National standard Italian Law 13/1989 - Ministerial Decree of the Ministry of Public Works 236/1989 - Non-residential building
... ...
Model AUXILIA S - AUTOMATIC PUSH BUTTON CONTROL
Capacity 390 kg
Capacity 4 persons
Size Large
Kind of shaft Shaft in brickwork
Car accesses Single access
Type of car doors Folding
Type of floor landing doors Single swing
Position of doors Onto the landing
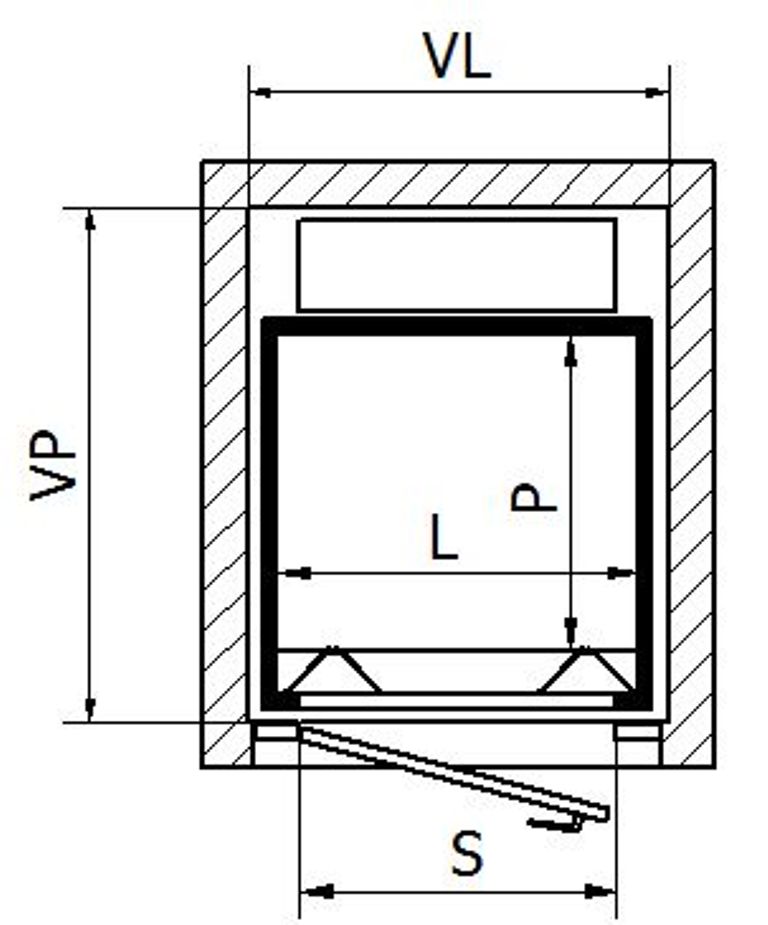
Car width (L) 1100 mm
Car depth (P) 1400 mm
Doors opening (S) 800 mm
Width of inner shaft (VL) 1260 mm
Depth of inner shaft (VP) 1800 mm
Car height (H) 2000 mm
Shaft (FH)
  • Standard
  • Reduced
Placeholder
  • 250 mm
  • 150 mm
Head (TH)
  • Standard
  • Reduced
Placeholder
  • 2500 mm
  • 2400 mm
Width of unloading area 1500 mm
Depth of unloading area 1500 mm
Note
  • Data valid for plants with standard fittings.
  • Speed 0.15 m/s.
  • ELMA reserves the right to change without prior notice the data on this data sheet.
Review
02/12 FG01/      / SC01 / A

This technical sheet is available on the web site www.elmaonline.it

About

We are professional and reliable provider since we offer customers the most powerful and beautiful themes. Besides, we always catch the latest technology and adapt to follow world’s new trends to deliver the best themes to the market.